

IP地址是硬件设备在网络世界的门牌号。
小到办宽带送的光猫(路由器),大到搭建网站使用的服务器,每台连接网络的设备都有一个IP地址,而这个IP地址就是该设备在网络世界的门牌号。通过这个门牌号,我们才能在网络世界确认它的位置和访问它。
那么,如何确认自己的手机、电脑或者某台服务器的IP地址呢?当从国内某所城市访问海外某台服务器时网络请求是如何行走的呢?如果你有这些疑问IPIP.NET都可以给你答案。
1.网站简介

- ⭕网站内容:提供IP地址查询、Ping和ICMP路由跟踪功能
- ⭕网站名字:IPIP.NET_最专业的 IP 地址库
- ⭕网站地址:https://www.ipip.net/
- ⭕有无软件:[地址库和客户端工具]
2.功能说明
2.1.IP地址查询https://www.ipip.net/ip.html

如果想查看自己电脑或手机所连网络的IP,只需要使用浏览器打开上方的网址。从IP查询页面可以看当前IP所处位置、IP段和ASN数据。
例如注册海外地区苹果ID时需要手机开启全局∨P∩,访问此页面显示的IP地区如果是中国,说明手机使用的∨P∩是失效的或者没开全局模式。
如果想查看某域名如 baidu.com 服务器的IP,只需要将域名输入上述填写框点击回车键,IPIP.NET会自动解析该域名并显示具体的IP地址信息。
2.2.Ping查询:https://tools.ipip.net/ping.php
Ping是对一个网址或IP发送测试数据包,看网址或IP是否有响应并统计响应时间,主要用来测试网络是否通畅。

直接看上图,以https://www.google.com/为例,Ping的地区选择中国(从中国访问),注意以下几点:
Ping地点:
Ping的过程可以理解为从这些地区(中国各城市)和网络运营商(电信、联通、移动等)访问了https://www.google.com/
响应IP:
对应地区和网络运营商访问该域名时,DNS解析服务器返回的IP地址。是不是很奇怪,为什么谷歌域名绑定的IP地址是Facebook的?这种DNS解析返回错误或虚假IP的现象叫“DNS污染”(通过加密DNS请求可以避免DNS污染:[DoH] [Intra])
查看响应IP可以获取这些信息:如果你买了某个域名并绑定IP地址,可以确认DNS解析是否在全国或全世界都已经生效(返回的IP都是你绑定的);判断某域名是否被DNS污染(响应IP错误)
丢包率:
整整齐齐各城市和宽带丢包率都是100%,类似你对某人喊了一百句话而他一句也没听到。有这么几种会导致此现象:服务器设置了禁止ping、服务器已关机、IP地址错误和该IP被不明机构不明原因的阻断。
查看丢包率可以获取这些信息:自己购买的VPS服务器国内是否可以访问,网络线路是否稳定(丢包率为0)
响应时间:
可以理解为你喊某人一句话,这句话传到他耳朵时间隔的时间。正常状态,国内服务器响应时间在30毫秒左右,香港服务器50毫秒左右,美国洛杉矶则在150左右。响应时间越短,延迟越低。那么延迟越低是不是网速越快呢?
不是的。我们常说的网速其实是带宽,不是延迟。你可以这样理解,你同时让两位同学读一篇文章。A同学听到你的指令后在30毫秒后开始朗读,B同学在150毫秒后开始阅读,A同学虽然反应时间比B同学短,但如果A同学每次读只一个字而B同学每次能读一句话,最终还是B同学最先读完。
买服务器时延迟是很重要的一个参数,但带宽也非常重要,一定要注意到自己购买的服务器准备运行的业务对宽带的要求。

如果从港澳台Ping谷歌网站会是怎样的呢?如上图所示,可以看到响应IP全都归属于谷歌了(说明没被DNS污染),丢包率全部为0(说明网络很稳定),响应时间几乎都在10毫秒以内(说明延迟非常低)。
通过对比中国和其他海外国家Ping的IP响应和丢包率(中国100,海外100以内),可以确认这个域名或IP有没有被ban。如果被ban了还想在中国访问,记得更换域名或IP或者用一些网络代理工具。
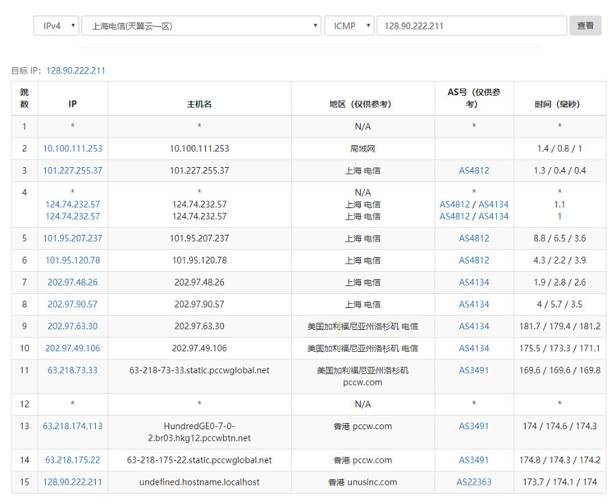
2.3.ICMP路由跟踪
回家的路不止一条,但总有一条是最畅通的,在互联网世界也是如此。按照常识,两地距离越近达到的时间也就越短,但是万一绕路了呢?同样是从中国到香港,有人飞机直达,有人却中途绕道美国,这种现象在网络世界屡见不鲜。

如上图所示,这是一个中国上海电信访问某香港服务器IP,却绕道美国洛杉矶的例子。通过ICMP路由跟踪功能,可以详细到看到从某个城市到另一个城市网络请求运行路线。

如上图所示,广州移动的朋友访问相同的IP时并没有绕路,延迟只有11毫秒而上海电信延迟高达150毫秒以上。其实电信、联通和移动各运营商和各城市之间也有中转,并且网络运行线路也不同,这导致了一个现象:同一网站有的人说打开速度快而有的人却很慢;购买VPS搭建代理工具或直接购买的未批恩,有人说速度快有人说速度慢。
通过ICMP路由跟踪功能,我们能够直观的看到网络请求线路,那么当遇到网络不通畅时就可以通过ICMP确认那个跳转节点出现了问题。

如上图所示,从四川德阳移动访问Google服务器位于香港的某个IP时,网络请求从四川德阳移动中转到广东广州移动,最终消失在了221.176.22.158节点。说明是这个广州移动的221.176.22.158节点拦截了该请求。


暂无评论
要发表评论,您必须先 登录